
新华社北京2月10日电(中国证券报记者吴娟娟)明晟公司(MSCI)发布的2021年2月指数评审结果显示,美的集团、金龙鱼、长电科技、科沃斯、中航高科、中金公司等6只A股股票被MSCI旗舰指数——全球标准指数系列纳入,本次仅剔除一只A股股票,即华测检测。
值得注意的是,本次新纳入多只在海外上市的热门中概股,例如新能源概念股大全新能源、造车新势力理想汽车。此次合计纳入14只中国企业股票,含A股、港股和中概股。
评审结果将于2月26日收盘生效。
(小标题)MSCI发布指数评审结果
来源:MSCI
6只A股股票新纳入
来源:根据MSCI官网信息整理
其中,美的集团是被外资“买爆”之后重新纳入。2020年1月,美的集团外资持股比例突破28%,被“买爆”,此后被MSCI剔除。按照MSCI的规定,个股被“买爆”之后,一般经过一年观察期可考虑重新纳入。时隔1年,MSCI宣布重新纳入美的集团。
新纳入的国产芯片概念股长电科技近期发布业绩预增报告,2020年归母净利润预计同比增长1287.27%。
新纳入的扫地机器人类股票科沃斯2021年以来涨幅接近40%。
新纳入的金龙鱼总市值居创业板第二位,达6628亿元。
(小标题)北向资金近一个月净卖出贵州茅台77.75亿元
Wind数据显示,截至2月9日,北向资金2021年以来净流入758.37亿元。其中,沪股通净流入216.87亿元,深股通净流入541.49亿元。截至2月9日,北向资金连续8个交易日净流入。
不过,部分热门股却遭到“抛弃”。最近一个月,北向资金净流出额居前的是贵州茅台、五粮液和伊利股份等食品饮料龙头,净流入额居前的为宁德时代、招商银行、中国平安等新能源汽车、金融类股票。尽管贵州茅台2021年以来屡创新高,市值突破3万亿元,但北向资金对贵州茅台投出“反对票”。同时,新能源汽车概念龙头股受到青睐,宁德时代近一个月北向资金净流入53.52亿元。
近一个月北向资金净买入、净卖出较多的股票
来源:Wind单位:亿元
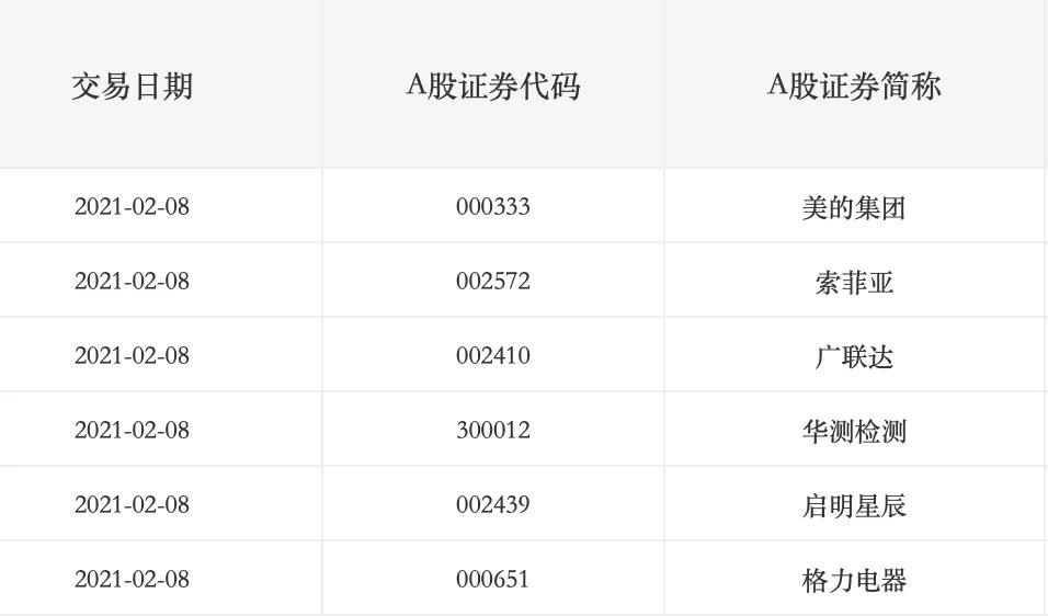
(小标题)多只股票外资持股比例超24%
深交所信息显示,截至2月8日,美的集团、格力电器、广联达、启明星辰、索菲亚、华测检测等6只股票外资持股比例超过24%,被交易所预警。
外资持股比例超过24%的股票
来源:深交所信息披露
瑞银中国策略主管刘鸣镝1月底发表报告表示,投资者可继续坚守拥有创新能力、品牌和平台优势的行业龙头,而市场可能继续给予相关公司估值溢价。战术上,增加对顺周期板块的配置。(完)