
11月1日0—24时,全国新增本土确诊病例54例,含5例由无症状感染者转为确诊病例。11月2日,重庆市九龙坡区、长寿区各报告1例新冠肺炎确诊病例。为严格落实“外防输入、内防反弹”的防控策略,按照我市疫情防控有关规定,重庆市疾控中心提醒广大市民:非必要不离渝;坚持做好个人防护,科学佩戴好口罩、加强手卫生、室内多通风、不聚会不扎堆、保持一米以上社交距离;适龄、无禁忌症人群尽快接种新冠病毒疫苗,符合加强免疫接种条件的市民,应尽快接种“加强针”。
有以下时段和地区旅居史的来渝返渝人员,在做好个人防护的前提下,及时向所在地社区(村)、所在单位报告,按要求配合做好核酸检测、健康监测等各项防控措施。
健康提示
(一)
请密切关注疫情发展,非必要不离渝;不要前往高、中风险区及所在城市和重点地区。高、中风险区及所在城市和重点地区的来渝返渝人员按《重点地区来渝返渝人员健康管理措施》进行管理,其他市外来渝返渝人员建议及时、主动做1次核酸检测。
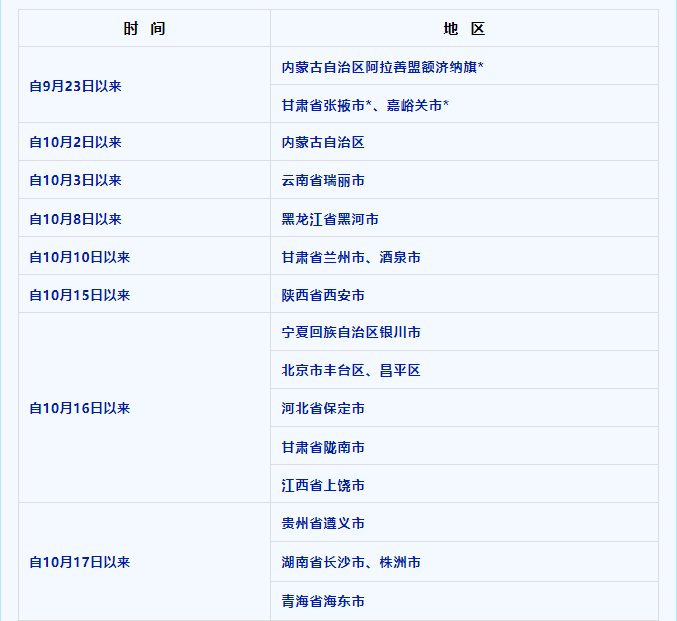
重点地区来渝返渝人员健康管理措施
▼
(二)
请密切关注新闻发布会、官方网站公布的病例轨迹,与病例有时空交集的人员在做好个人防护的前提下,及时向所在地社区(村)、单位报备,配合流调人员开展流行病学调查,并做好核酸检测、健康监测等防控措施。
(三)
如出现发热(≥37.3℃)、干咳、乏力、咽痛、鼻塞、流涕、嗅(味)觉减退、腹泻等症状,要正确佩戴口罩,及时到就近医院发热门诊就医,主动告知旅行史和接触史,就医过程中尽量避免乘坐公共交通工具。
(四)
提高自我防护意识,做好个人防护,积极接种新冠病毒疫苗。做好疫苗接种是疫情防控的重要手段,请适龄、无禁忌症人群尽快接种,做到“应接尽接”。